尊龙凯时机器(杭州)有限公司 版权所有
电话:0571-87177656
邮 箱:xzidea@126.com
地址:杭州市钱塘区文渊北路246号
网站版权注 仿冒必究!
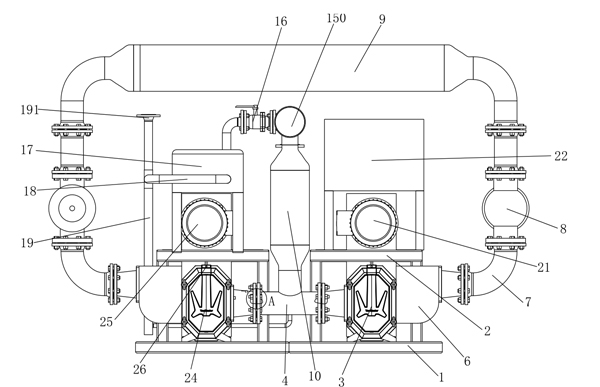
智控户外真空(负压)系统及辅助真空系统,能够使建立真空效率高,使用方便,可靠性好,不易堵塞。通过将一级过滤筛筒、二级过滤筛筒和三级过滤筛筒上的筛孔相互错位布置,筛孔大小逐渐减小,使得过滤效果良好;固气混流进口管前端设置有弯头,弯头开口朝下,有效防止粪污对进口固气混流管内壁的腐蚀;设置有辅助真空设备,辅助真空主管上端设置有进出气口,辅助真空主管与进口固气混流管之间的管道上设置有真空安全阀,可以保证进口固气混流管良好的真空度,保证粪污的正常卸污;废气出口管管口呈喇叭形,可以有效防止废气出口管外侧的水汽形成液体流入辅助真空设备,损坏设备;设置有出口混流箱,可以存储液体和消除出口脉动,出口混流箱上设置有射流清洗口、检修手孔和检修排液口,可以方便出口混流箱清洗;一级过滤筛筒、二级过滤筛筒和三级过滤筛筒上均涂设有防腐工程材料,增加过滤筒的使用寿命;
工作过程:
将进口111与需要抽的粪污相连接,在粪污进入到进口固气混流管10,在辅助真空设备17的作用下,废气与废料相互分离,废料进入到三通连接管4,在第一弹性体凸轮泵3和第二弹性体凸轮泵24的作用下将粪污废料抽到汇聚三通管9处,通过出口端91排出到需要的地方,废气通过进出气口191排出,控制支管131上的真空表14对进口固气混流管10真空度进行测量,当真空度过高时,辅助真空主管19与进口固气混流管10之间的连接管道将外界的空气填入到进口固气混流管10降低真空度,真空安全阀20控制回填空气的量;当进口固气混流管10的真空值低于35Kpa时,第一弹性体凸轮泵3和第二弹性体凸轮泵24同时工作进行排污,当进口固气混流管10的真空值为45-55Kpa时,第一弹性体凸轮泵3或第二弹性体凸轮泵24其中之一运行进行排污,当进口固气混流管10的真空值为55-75Kpa时,第一弹性体凸轮泵3和第二弹性体凸轮泵24交替运行,而且两则单一运行时间不超过2分钟,当进口固气混流管10的真空值为75-85Kpa时,真空泄压阀15打开进行卸压,当进口固气混流管10的真空值大于85Kpa时,真空安全阀20打开,对进口固气混流管10进气降低真空度;当温度传感器26检测到温度低于1ºC时,防冻加热器243工作,当温度传感器26检测到温度高于55ºC时,第一弹性体凸轮泵3和第二弹性体凸轮泵24停机。
